Product Summary
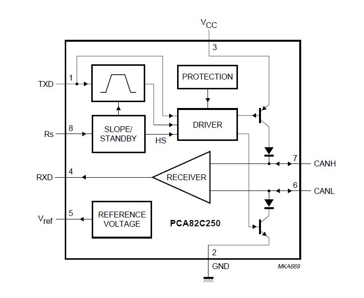
The PCA82C250N4 is a CAN controller interface. The PCA82C250N4 is the interface between the CAN protocol controller and the physical bus. The PCA82C250N4 provides differential transmit capability to the bus and differential receive capability to the CAN controller.
Parametrics
PCA82C250N4 absolute maximum ratings: (1)VCC supply voltage: 4.5 5.5 V; (2)ICC supply current standby mode: 170 mA; (3)1/tbit maximum transmission speed non-return-to-zero: 1Mbaud; (4)VCAN CANH, CANL input/output voltage: -8 +18 V; (5)Vdiff differential bus voltage: 1.5 3.0 V; (6)tPD propagation delay high-speed mode: 50 ns; (7)Tamb ambient temperature: -40 +125 ℃.
Features
PCA82C250N4 features: (1)Fully compatible with the ISO 11898 standard; (2)High speed (up to 1 Mbaud); (3)Bus lines protected against transients in an automotive environment; (4)Slope control to reduce Radio Frequency Interference(RFI); (5)Differential receiver with wide common-mode range for high immunity against ElectroMagnetic Interference(EMI); (6)Thermally protected; (7)Short-circuit proof to battery and ground.
Diagrams

![]() |
![]() PCA82C200T |
![]() Other |
![]() |
![]() Data Sheet |
![]() Negotiable |
|
||||
![]() |
![]() PCA82C250 |
![]() Other |
![]() |
![]() Data Sheet |
![]() Negotiable |
|
||||
![]() |
![]() PCA82C250/N4,112 |
![]() NXP Semiconductors |
![]() Network Controller & Processor ICs HI-SPEED CAN XCVR |
![]() Data Sheet |
![]() Negotiable |
|
||||
![]() |
![]() PCA82C250T/N,112 |
![]() |
![]() IC CAN CNTRL INTERFACE SOT96-1 |
![]() Data Sheet |
![]() Negotiable |
|
||||
![]() |
![]() PCA82C250T/N,115 |
![]() |
![]() IC CAN CNTRL INTERFACE SOT96-1 |
![]() Data Sheet |
![]() Negotiable |
|
||||
![]() |
![]() PCA82C250T/N,118 |
![]() |
![]() IC CAN CNTRL INTERFACE SOT96-1 |
![]() Data Sheet |
![]() Negotiable |
|
||||
(China (Mainland))










